Таблица 1. Обозначения, построенные по функциональным признакам.
| Наименование | Обозначение | ||
|---|---|---|---|
| 1. Насос нерегулируемый: | - с нереверсивным потоком | ![]() |
|
| - с реверсивным потоком | ![]() |
||
| 2. Насос регулируемый: | - с нереверсивным потоком | ![]() |
|
| - с реверсивным потоком | ![]() |
||
| 3. Насос регулируемый с ручным управлением и одним направлением вращения | ![]() |
||
| 4. Насос, регулируемый по давлению, с одним направлением вращения, регулируемой пружиной и дренажом | ![]() |
||
| 5. Насос-дозатор | ![]() |
||
| 6. Насос многоотводный (например, трехотводный регулируемый насос с одним заглушенным отводом) | Детальное | Упрощенное | |
![]() |
![]() |
||
| 7. Гидромотор нерегулируемый: | - с нереверсивным потоком | ![]() |
|
| - с реверсивным потоком | ![]() |
||
|
8. Гидромотор регулируемый: - с нереверсивным потоком, с неопределенным механизмом управления, наружным дренажом, одним направлением вращения и двумя концами вала |
![]() |
||
| 9. Поворотный гидродвигатель | ![]() |
||
| 10. Компрессор | ![]() |
||
| 11. Пневмомотор нерегулируемый: | - с нереверсивным потоком | ![]() |
|
| - с реверсивным потоком | ![]() |
||
| 12. Пневмомотор регулируемый: | - с нереверсивным потоком | ![]() |
|
| - с реверсивным потоком | ![]() |
||
| 13. Поворотный пневмодвигатель | ![]() |
||
| 14. Насос-мотор нерегулируемый: | - с одним и тем же направлением потока | ![]() |
|
| - с реверсивным направлением потока | ![]() |
||
| - с любым направлением потока | ![]() |
||
| 15. Насос-мотор регулируемый: | - с одним и тем же направлением потока | ![]() |
|
| - с реверсивным направлением потока | ![]() |
||
| - с любым направлением потока, с ручным управлением, наружным дренажом и двумя направлениями вращения | ![]() |
||
| 16. Насос-мотор регулируемый, с двумя направлениями вращения, пружинным центрированием нуля рабочего объема, наружным управлением и дренажом (сигнал n вызывает перемещение в направлении N) | ![]() |
||
| 17. Объемная гидропередача: | - с нерегулируемым насосом и мотором, с одним направлением потока и одним направлением вращения | ![]() |
|
| - с регулируемым насосом, с реверсивным потоком, с двумя направлениями вращения с изменяемой скоростью | ![]() |
||
| - с нерегулируемым насосом и одним направлением вращения | ![]() |
||
| 18. Цилиндр одностороннего действия: | Детальное | Упрощенное | |
| - поршневой без указания способа возврата штока, пневматический |
![]() |
![]() |
|
| - поршневой с возвратом штока пружиной, пневматический | ![]() |
![]() |
|
| - поршневой с выдвижением штока пружиной, гидравлический | ![]() |
![]() |
|
| - плунжерный | ![]() |
||
| - телескопический с односторонним выдвижением, пневматический | ![]() |
||
| - телескопический с двухсторонним выдвижением | ![]() |
||
| 19. Цилиндр двухстороннего действия: | Детальное | Упрощенное | |
| - с односторонним штоком, гидравлический | ![]() |
![]() |
|
| - с двухсторонним штоком, пневматический | ![]() |
![]() |
|
| - телескопический с односторонним выдвижением, гидравлический | ![]() |
||
| - телескопический с двухсторонним выдвижением | ![]() |
||
| 20. Цилиндр дифференциальный (отношение площадей поршня со стороны штоковой и нештоковой полостей имеет первостепенное значение) | Детальное | Упрощенное | |
![]() |
![]() |
||
| 21. Цилиндр двухстороннего действия с подводом рабочей среды через шток: | - с односторонним штоком | ![]() |
|
| - с двухсторонним штоком | ![]() |
||
| 22. Цилиндр двухстороннего действия с постоянным торможением в конце хода: | - со стороны поршня | ![]() |
|
| - с двух сторон | ![]() |
||
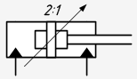
| 23. Цилиндр двухстороннего действия с регулируемым торможением в конце хода: | - со стороны поршня | ![]() |
|
| - с двух сторон и соотношением площадей 2:1 | Детальное | Упрощенное | |
![]() |
![]() |
||
| Примечание – При необходимости отношение кольцевой площади поршня к площади поршня (соотношение площадей) может быть дано над обозначением поршня | |||
| 24. Цилиндр двухкамерный двухстороннего действия | ![]() |
||
| 25. Цилиндр мембранный: | - одностороннего действия | ![]() |
|
| - двухстороннего действия | ![]() |
||
| 26. Пневмогидравлический вытеснитель с разделителем: | - поступательный | ![]() |
|
| - вращательный | ![]() |
||
| 27. Поступательный преобразователь: | - с одним видом рабочей среды | ![]() |
|
| - с двумя видами рабочей среды | ![]() |
||
| 28. Вращательный преобразователь: | - с одним видом рабочей среды | ![]() |
|
| - с двумя видами рабочей среды | ![]() |
||
| 29. Цилиндр с встроенными механическими замками | ![]() |
||
В материале использованы изображения условных обозначений из Библиотеки трафаретов Visio Инженерные системы






























































